| ANSI/UL1479 (ASTM E814) | CAN/ULC S115 |
|---|---|

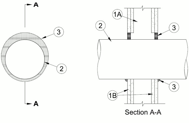
1.Wall Assembly — The 1 or 2 hr fire-rated gypsum board/stud wall assembly shall be constructed of the materials and in the manner specified in the individual U300, U400, V400 or W400 Series Wall and Partition Design in the UL Fire Resistance Directory and shall include the following construction features:
A.Studs — Wall framing may consist of either wood studs or steel channel studs. Wood studs to consist of nom 2 by 4 in. (51 by 102 mm) lumber spaced 16 in. (406 mm) OC. Steel studs to be min 3-1/2 in. (89 mm) wide and spaced max 24 in. (610 mm) OC.B.Gypsum Board* — Thickness, type, number of layers and fasteners as specified in the individual Wall and Partition Design. Diam of opening to be max 1 in. (25 mm) larger than OD of steel duct (Item 2). Max diam of opening is 11 in. (279 mm).The hourly F Rating of the firestop system is equal to the hourly fire rating of the wall assembly in which it is installed. The hourly T Rating is 0 hr and 1 hr for 1 and 2 hr rated assemblies, respectively.
2.Steel Duct — Nom 10 in. (254 mm) diam (or smaller) No. 28 gauge (or heavier) spiral wound or long seam galv steel duct. The duct shall be constructed and reinforced in accordance with SMACNA construction standards. Annular space between duct and periphery of opening to be min 0 in. (point contact) to max 1 in. (25 mm). Duct to be rigidly supported on both sides of the wall assembly.
3.Fill, Void or Cavity Material* — Sealant — Min 1/2 in. (13 mm) thickness of fill material applied within annulus, flush with both surfaces of wall assembly. At point contact location, min 3/8 in. (9.5 mm) diam bead of fill material applied at steel duct/gypsum board interface on both surfaces of wall.
RECTORSEAL — Metacaulk 1200 Caulk Grade, Metacaulk 150+, Metacaulk 1000, Metacaulk 350i, Biostop 750, Biostop BF 150+, Biostop 500+, Biostop 350i, FlameSafe FS1900