
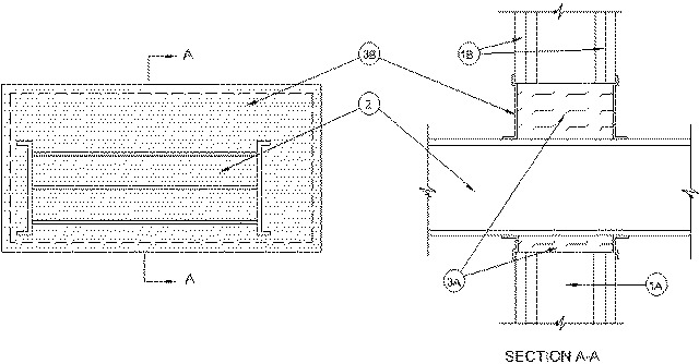
1.Wall Assembly — The 1 or 2 Hr fire-rated gypsum board/stud wall assembly shall be constructed of the materials and in the manner specified in the individual U400 Series Wall and Partition Designs in the UL Fire Resistance Directory and shall include the following construction features:
A.Studs — Wall framing to consist of min 3-1/2 in. wide steel channel studs spaced max 24 in. OC. Additional framing members to be installed in stud cavity containing busway to form a rectangular box around the opening.B.Gypsum Board* — One or two layers of nom 5/8 in. thick gypsum board, as specified in the individual Wall and Partition Design. Max area of opening is 420 sq in. with max dimensions of 30 in.The hourly F Rating of the firestop system is equal to the hourly fire rating of the wall assembly in which it is installed.
2.Busway+ — Nom 27 in. wide by 6 in. deep (or smaller) "I" shaped steel enclosure containing factory mounted copper or aluminum bars rated for 600 V, 4000A. One busway to be installed within the opening. The annular space between the tip of the busway and the periphery of the opening shall be min 3/4 in. to max 5 in. Busway to be rigidly supported on both sides of floor and wall assembly. The busway shall bear the UL Listing Mark and shall be installed in accordance with all provisions of Article 364 of the National Electrical Code, NFPA 70.
3.Firestop System — The firestop system shall consist of the following:
A.Packing Material — Min 4-1/4 or 5-3/4 thickness, for 1 or 2 hr walls, respectively, of min 4 pcf mineral wool batt insulation packed at 50 percent compression into opening as a permanent form. Packing material to be recessed from both surfaces of wall as required to accommodate the required thickness of fill material.B.Fill Void or Cavity Materials* - Caulk — Min 1/8 in. thickness of fill material applied within the annular space, flush with both surfaces of wall and overlapping min 1/2 in. onto each wall surface.
RECTORSEAL — Metacaulk 1000