
1.Wall Assembly — Min 6 in. thick reinforced lightweight or normal weight (100-150 pcf) concrete. Wall may also be constructed of any UL Classified Concrete Blocks*. Max size of opening is 576 sq in. with a max dimension of 24 in.
See Concrete Blocks (CAZT) category in the Fire Resistance Directory for names of manufacturers.
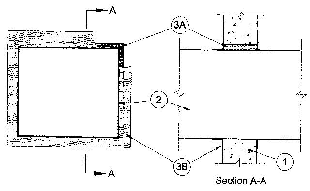
2.Steel Duct — Nom 23 by 23 in. (or smaller) No. 24 gauge (or heavier) steel duct to be installed either concentrically or eccentrically within the opening. The annular space shall be min 0 in. (point contact) to max 1 in. Duct to be rigidly supported on both sides of wall assembly.
3.Firestop System — The firestop system shall consist of the following:
A.Packing Material — Min 6 in. thickness of min 4 pcf mineral wool batt insulation firmly packed into opening as a permanent form, flush with both surfaces of wall.B.Fill Void or Cavity Materials* — Caulk — Min 1/8 in. wet thickness of fill material sprayed or brushed on each side of the wall to completely cover mineral wool packing material and to overlap a min of 2 in. onto wallboard and duct.
RECTORSEAL — Metacaulk 1200 Spray, Metacaulk 1200 Caulk Grade, MC 150+