
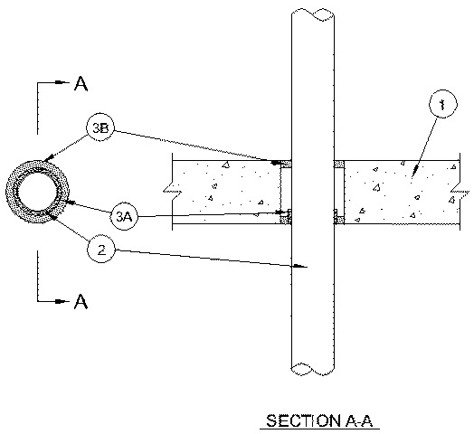
1.Floor or Wall Assembly — Min 4-1/2 in. thick reinforced lightweight or normal weight (100-150 pcf) concrete. Wall may also be constructed of any UL Classified Concrete Blocks*. Floor assembly may also be constructed of any min 6 in. thick UL Classified hollow-core Precast Concrete Units*. Max diam of opening is 5 in.
See Concrete Blocks (CAZT) and Precast Concrete Units (CFTV) categories in Fire Resistance Directory for names of manufacturers.
2.Through-Penetrants — One nonmetallic pipe to be centered within the firestop system. Annular space shall be 1/4 or 3/4 in. when one or two layers of wrap strip (Item 3A) are used, respectively. Pipe to be rigidly supported on both sides of floor or wall assembly. The following types and sizes of nonmetallic pipes may be used:
A.Polyvinyl Chloride (PVC) Pipe — Nom 3 in. diam (or smaller) Schedule 40 cellular or solid core PVC pipe for use in closed (process or supply) or vented (drain, waste or vent) piping systems.B.Chlorinated Polyvinyl Chloride (CPVC) Pipe — Nom 3 in. diam (or smaller) SDR 13.5 CPVC pipe for use in closed (process or supply) piping systems.C.Acrylonitrile Butadiene Styrene (ABS) Pipe — Nom 3 in. diam (or smaller) Schedule 40 cellular or solid core ABS pipe for use in closed (process or supply) or vented (drain, waste or vent) piping systems.
3.Firestop System — The details of the firestop system shall be as follows:
A.Fill, Void or Cavity Material*- Wrap Strip — One or two layers of nom 1/4 in. thick by 1 in. wide intumescent wrap strip. When two layers of wrap strip are used with PVC or CPVC pipes, T Rating is 2 Hr. Otherwise, T Rating is 0 Hr. The wrap strip is continuously wrapped around the outer circumference of the pipe once and held in place with steel tie wire located at mid-height. The wrap strip is to be installed flush with the bottom surface of the floor or both surfaces of wall. Wrap strips are installed on each surface of the wall.B.Fill, Void or Cavity Material* - Sealant — When one layer of wrap strip is used, min 1/2 in. thickness of fill material applied within the annulus, flush with both surfaces of floor or wall. When two layers of wrap strip are used, min 1/4 in. thickness of fill material applied within the annulus, flush with both surfaces of floor or wall.
RECTORSEAL — Metacaulk Wrap Strip
RECTORSEAL — Metacaulk 1000