| ANSI/UL2079 | CAN/ULC S115 |
|---|---|

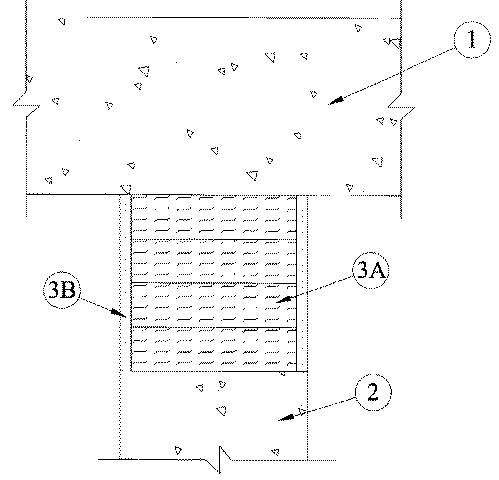
1.Floor Assembly — Min 4-1/2 in. thick reinforced lightweight or normal weight (100 - 150 pcf) structural concrete. Floor may also be constructed of any min 6 in. thick UL Classified hollow-core Precast Concrete Units*.
See Precast Concrete Units (CFTV) category in the Fire Resistance Directory for names of manufacturers.
2.Wall Assembly — Min 4-1/2 in. thick reinforced lightweight or normal weight (100 - 150 pcf) structural concrete. Wall may also be constructed of any UL Classified Concrete Blocks*.
See Concrete Blocks (CAZT) category in the Fire Resistance Directory for names of manufacturers.
3.Joint System — Max separation between bottom of floor and top of wall (at time of installation of joint system) is 3-1/2 in. (89 mm). The joint system is designed to accommodate a max 15 percent compression or extension from it's installed width. The joint system shall consist of the following:
A.Forming Material* — Min 4 pcf mineral wool batt insulation installed in joint opening as a permanent form. Pieces of batt cut to min width of 4 in. and installed edge-first into joint opening, parallel with joint direction, such that batt sections are compressed min 42 percent in thickness and that the compressed batt sections are recessed from each surface of the wall as required to accommodate the required thickness of fill material. Adjoining lengths of batt to be tightly-butted with butted seams spaced min 24 in. apart along the length of the joint.
INDUSTRIAL INSULATION GROUP L L C — MinWool-1200 Safing
JOHNS MANVILLE — Safing
ROCK WOOL MANUFACTURING CO — Delta Safing Board
ROCKWOOL MALAYSIA SDN BHD — SAFE Mineral Wool
ROCKWOOL — SAFE Mineral Wool
THERMAFIBER INC — SAF
B.Fill, Void or Cavity Material*—Sealant — Min 1/4 in. thickness of fill material applied within the joint, flush with each surface of wall.
RECTORSEAL — FlameSafe 900+ Sealant, Metacaulk MC 150+, or Biostop BF 150+.